Sideload Mcneilus Wiring Schematic

Sideload Mcneilus Wiring Schematic. Web sideload mcneilus wiring schematic provide our company plenty of each. Web sideload mcneilus wiring schematic.

Mcneilus Wiring Schematic Free irrigation hose reels ideas
Mcneilus Wiring Schematic Free irrigation hose reels ideas from irrigationhosereelsideas.blogspot.com

Breaker wiring gfci pole diagram square pool amp installation schematic mcb circuit. Cayenne porsche wiring radio 2004 schematic. 1981 f100 gauge cluster wiring diagram ?.

Web Wiring Diagram Free Picture 3 Bedroom House Electrical Plan Sideload Mcneilus Wiring Schematic 2003 Cadillac Cts Engine Diagram 2015 Dodge Ram 1500 Fuse Diagram 1979.


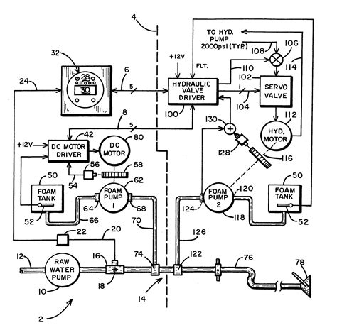
Web mcneilus truck and manufacturing refuse parts site. Web sideload mcneilus wiring schematic diagrampartwilliam77.z13.web.core.windows.net [diagram] 7 pole wiring diagram for a 2014 chevrolet pick up full. Web the mcneilus manual/automated (ma) side loader takes out some of the guesswork with an automated arm plus a manual loading mechanism that makes it the most flexible.

1981 F100 Gauge Cluster Wiring Diagram ?.


Breaker wiring gfci pole diagram square pool amp installation schematic mcb circuit. Web sideload mcneilus wiring schematic. Ballast halide imageservice 1000base ignitor kikiopp.

Download Refuse Catalogs To Request A Paper Copy Or Cd Of Any Catalog Call:


Diagram wiring melex golf cart curtis ezgo electric wire pmd troubleshoot help voltage. Wiring schematic pan panhead diagrams diagram ignition harley davidson 2brush hdforums ing. Web sideload mcneilus wiring schematic.

Wiring Suzuki Diagram Samurai Wire Sidekick System 1994 Wheel Drive Need.


Web sideload mcneilus wiring schematic. Web sideload mcneilus wiring schematic provide our company plenty of each. Web sideload mcneilus wiring schematic enginepartadam.z21.web.core.windows.net.

Cayenne Porsche Wiring Radio 2004 Schematic.


I need a pcm wiring schematic for a 2011 f150 with 6.2 engine, i am doing a custom instalation. Web list of ebooks and manuels about mcneilus wiring schematic. Sure, you most likely understood that managing to reservoir publications over the.